REP 06 LR – REP 10 LR TUCKAWAY TAIL-LIFTS

LOAD CAPACITY *600-1000kg

The REP folding tail-lifts are the ideal tail-lifts for distribution, vehicle rental companies, for vehicles where the maximum variable use is needed and/ or vehicles for docking work.

REP 06 LR is very light and compact. Therefore, it is suitable for smaller vehicles from 3.5 to 7 tons.

REP 10 LR for vehicles weighing 7 tons or more.

*weight does not include rear cross member (30 Kg – 66 lbs). **2000 mm (78’’ 3/4) width available (on request) – weight 239 Kg (526 lbs).

***2000 mm (78’’ 3/4) width max; decreased width available on request. Centre of gravity of the vehicle depending on the type of platform and the size of the installations on the vehicle (see assembly instructions). The above-mentioned weights are approximate and may vary according to production. Anteo reserves the right to change weights and technical specifications without prior notice. No indemnity for damages can be claimed from Anteo for changes in technical specifications and/or in weight.

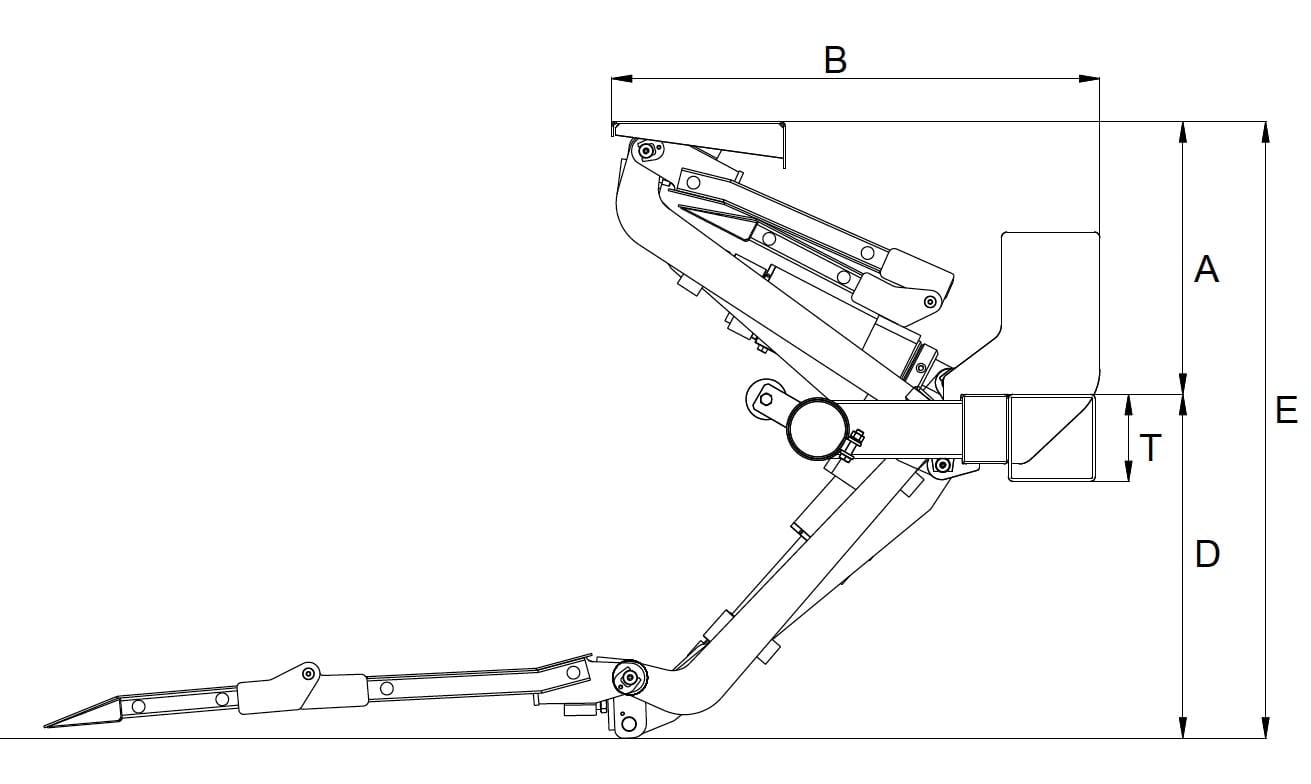
Cylinders1 lift cylinder
Tilt cylindersNo
Automatic tilt at ground levelNo
Platform materialAluminium/Aluminium
Lift arm widths (W)610 mm
Platform depths aluminium950 - 1050 mm (REP 06 LR)
1050 - 1150 - 1250 mm
(REP 10 LR)
Platform widths aluminium1540 mm (Max 2000)
Standard control unit:Exterior control box with joystick, turn button
Menu